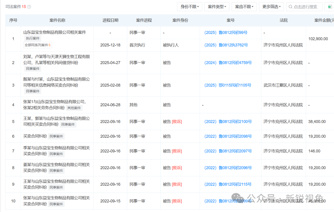
通过天眼查我们得知“山东益宝生物制品有限公司”已经被“最高法”披露为失信企业。这是什么原因呢?通过进一步了解,我们得知“山东益宝生物制品有限公司”(下文简称山东益宝)被多起民事诉讼缠身。原告均要求山东益宝退还购物款,山东益宝均败诉。并且该企业存在拖欠税款、为传销提供经营场所被市监局处罚等多种预警隐患。又因存在执行能力,拒不执行被法院认定为失信被执行人,并被限制高消费。全部司法案件金额90余万。







根据这些情况大家想一想,所谓董总入股6000万,还没有钱为公司解决拖欠税金和民事退赔吗?那么大家就不好奇是什么人起诉了“山东益宝”吗?
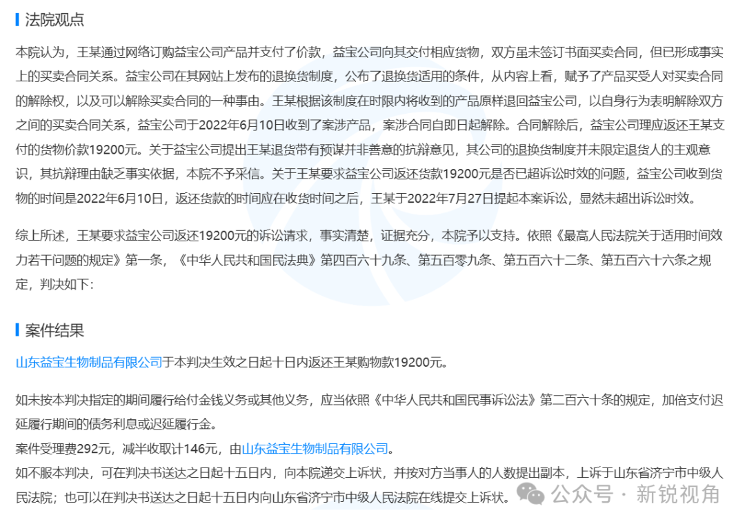
根据这张图我们可以看出有5个人和“山东益宝”存在买卖合同纠纷。(下图展示部分判决书)我们了解相关情况后得知,这5人都是在益宝官网上购买了产品,收到货后想退货,而益宝公司拒不退货。因为益宝公司在官网上承诺过产品30天未拆封、未使用可以申请退货退款。结果代理商真的要退货了,益宝就耍赖不退了。根据起诉时间来看,应该是先有一起胜诉判决后,剩下的几个人才分别起诉的。益宝公司在被告陈述中还说到,对方收到货后立即退货,前后时间太近,明显是有预谋的。也不知道益宝的律师是怎么想的,这种诡辩词都能当庭说地出来。你规定了可以无理由退货,那就是指消费者想退就退,你管我有什么预谋?






但是5起败诉的案件,益宝均未执行法院判决。结果被高院公布为失信企业。大家知道一点,有能力执行法院判决,而拒不执行的。已经涉嫌违反了刑法中的“拒执罪”。所以天眼查披露出这么多民事纠纷问题,就是要提醒与该企业有贸易往来的单位和个人,要清楚对方企业存在的法律风险,合理规避,以免受到经济损失。

可能很多人看到这里会问,这和我们说的“王二明解毒茶”有什么关系呢?大家要知道前文我们已经提到了王二明解毒茶和山东益宝的挂靠关系。就是挂靠到这样一个失信的直销企业上,你们事业的前景能好到哪里去?
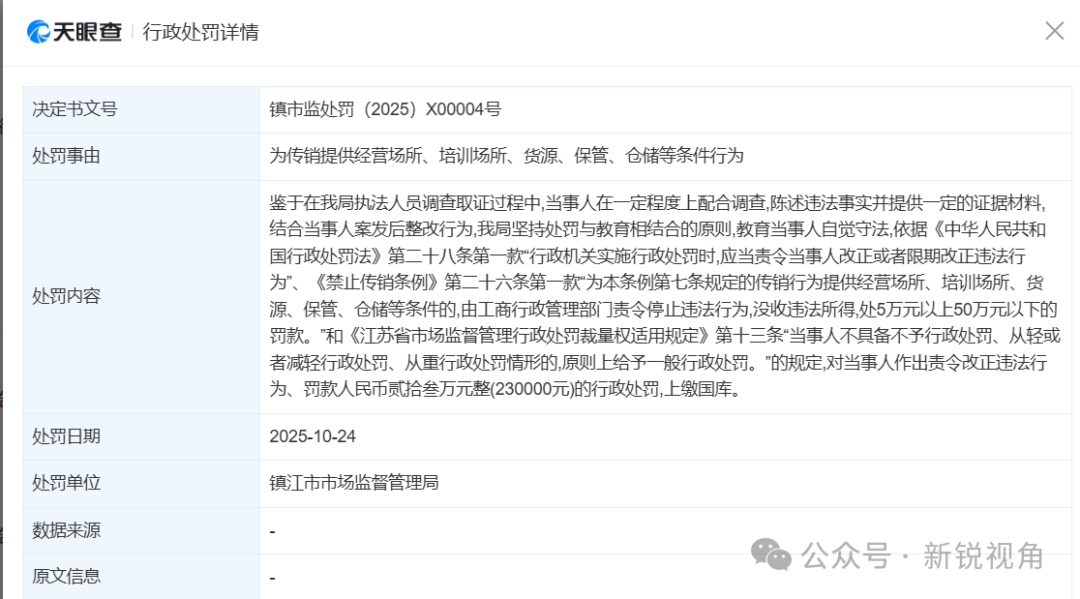
另外还有,“山东益宝”曾经被江苏镇江市监局罚款23万元。缘由是“山东益宝”为传销企业提供经营、培训场所,提供货源仓储、保管等条件。大家想一想这种处罚还是因为挂靠关系。如果真的是益宝自己冠名的产品,那就不是这种处罚结果了。所以直销企业为什么要选择挂靠?因为自己下水直接搞传销,违法成本太高了。找外面的公司来挂靠,直销公司帮助站台,提供培训、经营等场所。从而不赚点擦边的钱。但是这种情况一旦有人举报,就是出现上述情况。被市监局罚款之后,你们想想挂靠的企业还能继续依托益宝去宣传和销售吗?大家再想一想“王二明解毒茶”出现这种情况后,会是怎样的结局?最终谁将承担下所有?是广大的代理商、团队长!你们手里屯的货瞬间会失去市场,无人问津!


就在这几天随着我们进一步报道“王二明解毒茶”的情况,引发了网友热议。很多人提到文章标题中“古方草”和“王二明”不是同一个品牌,也不是同一家公司,不应该放在一起报道。古方草的老板是曹阳,但是之前也是王二明的股东,后分家出来创办了古方草。古方草也存在销售模式和夸大宣传问题。其代理商在我们文章下留言说不存在涉传,是传统销售模式。涉不涉传先不说,单说夸大宣传这一项是否存在?那些对于疾病治疗的说辞网上也是一大堆,所以说王二明的时候,提到了古方草也是没问题的。另外是否存在传销层级模式,我们这边会进一步了解,随后也会曝光出来。


我们近期会一直跟踪报道王二明解毒茶的情况,请参与者关注我们的文章。对于夸大宣传,涉嫌传销等问题,我们也会向相关部门反应。
直了网